公共樓梯尺寸是設計中極為重要的考量之一。根據標準規定,踏步寬度應不小於0.28m,踏步高度不應超過0.16m。同時,連續踏步不應超過18級,若超過18級,則需加設中間休息平台。此外,樓梯平台寬度不得小於梯段寬度並且不得小於1.10m。
此外,在室內和室外樓梯的設計中,也有其相應的尺寸要求。室內樓梯每梯段淨寬不應小於1.40m,踏步高度不應超過0.16m,踏步寬度不應小於0.28m。對於室外的台階,踏步高度應不超過0.15m,踏步寬度不應小於0.30m。
遵守這些標準能確保公共樓梯的舒適和安全。不僅如此,這些尺寸標準也被應用在家庭用的成品樓梯的設計中,確保使用者在家中使用時也能享受到相應的舒適度。

公共建築樓梯踏步尺寸
| 項 目 | 規 範 |
|---|---|
| 踏步寬度 | 不應小於 0.28m |
| 踏步高度 | 不應大於 0.16m |
| 連續踏步級數 | 不超過 18 級 |
| 中間休息平台寬度 | 不應小於梯段寬度,並不得小於 1.10m |
| 營業部分公用樓梯坡道 |
|
樓梯梯段淨寬的規定
| 類 別 | 最小淨寬 (m) |
|---|---|
| 六層及六層以下住宅 | 1m |
| 其他類型住宅 | 1.20m |
樓梯踏步尺寸的選擇
樓梯踏步的寬度不應小於 240mm,舒適的寬度範圍為 280mm~300mm。樓梯梯段淨寬不應小於 1.10m。扶手高度不宜小於 0.90m。當平台欄杆長度大於 0.50m 時,扶手高度不應小於 1.05m。樓梯欄杆垂直杆件間的淨空不應大於 0.11m。若樓梯井寬度大於 0.11m,必須採取防止兒童攀滑的措施。
樓梯坡度的範圍
樓梯的坡度在 23°~45° 之間,常用坡度為 30°,舒適角度為 26°~34°。若坡度超過 45°,應設爬梯;坡度小於 23°,應設坡道。
樓梯踏步尺寸的規範選擇
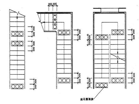
室內設計師可參考《民用建築通則》中的表來確定樓梯踏步的尺寸。住宅的中間平台寬度 D1 和樓層平台寬度 D2,平台寬度應大於或等於梯段寬度,並不小於 1200mm。根據樓梯間的尺寸、梯段寬度等,確定平台深度。中間(樓層)平台寬度不應小於梯段的寬度。對於直接通向走廊的開敞式樓梯間,其樓層平台可借用建築的走廊,因此樓層平台深度可不受此限制,但是為了避免走廊和樓梯上的人流相互幹擾,並且為了便於使用,應留有一定的緩衝寬度,一般為 500mm 寬。
樓梯扶手高度的規定
一般建築物樓梯扶手高度為 900mm。當平台上水平扶手長度超過 500mm 時,其高度不應小於 1050mm。
公共樓梯尺寸
公共樓梯尺寸是設計建築物時必須非常重視的一個因素。樓梯在建築物中扮演著非常重要的角色,既可以提供人們上下樓層的便利,又可以成為建築物的裝飾之一。因此,確保公共樓梯的尺寸合理和符合規範,對於建築物的功能性和美觀性都起著至關重要的作用。
根據建築規範,公共樓梯的尺寸應該符合特定的標準。首先,樓梯的步高應該在合理範圍內,既不能太高以至於讓人難以上下,也不能太低以至於讓人感到不安全。其次,樓梯的步寬也應該足夠,以確保人們能夠舒適地站立和行走。最後,樓梯的扶手高度和寬度也應該符合標準,方便使用者使用同時提供安全保護。
公共樓梯的尺寸還會受到建築物的用途和人流量的影響。例如,在商業大樓中,由於人流量較大,樓梯的尺寸可能需要更寬敞,以容納更多的人羣。相反,在住宅建築中,由於人流量相對較小,較小尺寸的樓梯可以更好地符合需求。
除了以上提到的尺寸要求外,公共樓梯的設計還應該考慮到無障礙設施,以方便行動不便的人士使用。例如,應該提供坡道或電梯等設施,以方便輪椅使用者或行動不便的人士上下樓層。